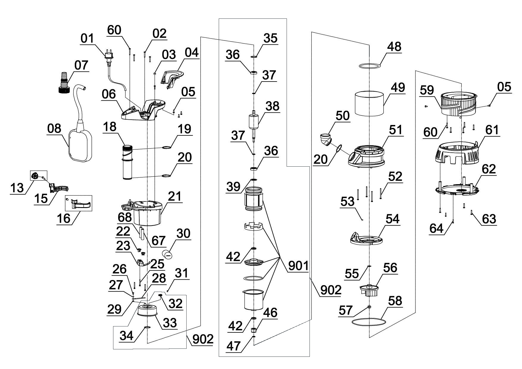
Keresse meg az Einhell termékeihez legmegfelelőbb tartalék alkatrészeket vagy tartozékokat!
A GE-DP 7330 LL ECO 2 az 1-ben kombinált szennyvízszivattyú az Einhell ECO-Power sorozatba tartozó, robusztus, nagy teljesítményű és megbízható segítőtárs. A kombinált szivattyú kiválóan alkalmas tavak, gödrök vagy elárasztott pincék vizének gyors elszívására, és max. 3 cm-es szemcseméretű tisztított- és szennyvíz esetén alkalmazható. A kombinált szennyvízszivattyú a legújabb technológiával rendelkezik, kiváló teljesítményű és optimális energiahatékonyságú - ez a nagy teljesítményű búvárszivattyú mindössze 730 watt energiafogyasztás mellett óránként akár 16.500 liter vizet is képes szállítani. A folyamatosan állítható úszókapcsoló választási lehetőséget biztosít a folyamatos működés és az előre megválasztott be- és kikapcsolási szint között. A szivattyú már 10 mm-es vízszint mellett is elindítható. Az egyszerű forgómozgással történtő szabadalmaztatott elszívásszint-szabályozás segítségével gyorsan alkalmazkodik a kívánt feladathoz. A szivattyú két feladatra is alkalmas: tisztított vízzel való működtetés esetén felületi elszívásra képes 1 mm maradék vízszintig, vagy max. 30 mm-es szemcseméretű szennyvizet képes felszívni. A rendkívül robusztus szivattyúház rozsdamentes acélból készült külső héjjal és kiváló minőségű kerámia / gumi csúszógyűrűs tömítésekkel rendelkezik, megbízhatóan működik még a nehéz víztelenítési feladatok esetén is, és hosszú élettartamot garantál. A praktikus, ergonomikus kialakítású fogantyú segítségével ez a 2 az 1-ben kombinált szivattyú bárhol egyszerűen használható.
Műszaki paraméterek
Kapcsolódó letöltések
Megfelelő tartozékok a GE-DP 7330 LL ECO
Fedezze fel az Einhell termékeihez és akkumulátoraihoz biztosított ingyenes garanciális szolgáltatásainkat.
Vásárlói vélemények
Az Einhell - a „Megerősített vásárlás” eseteit kivéve - nem biztosítja, hogy a közzétett vélemények olyan fogyasztóktól származnak, akik ténylegesen használták vagy megvásárolták a termékeket.
