Keresse meg az Einhell termékeihez legmegfelelőbb tartalék alkatrészeket vagy tartozékokat!
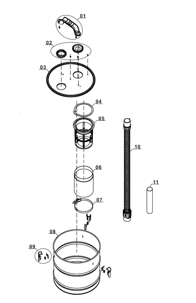
A 18 literes hamu finomszűrő nélkülözhetetlen eszköz a hamu kitakarításához a kályhából és a kandallóból. Egyszerűen rácsatlakoztatható nedves-száraz porszívóra vagy háztartási porszívóra, így kitakarítható a hideg hamu és a por. A minőségi szűrőbetét megakadályozza a porszívó elszennyeződését. A 18 literes hamu finomszűrővel igényesen kitakarítható a lehűlt kályha és kandalló. Ehhez szívócsatlakozóval, masszív, fémmel erősített szívótótömlővel és könnyű, robusztus, alumínium szívócsővel rendelkezik. Kényelmes használatot biztosít a tartófogó. A gyorszárak segítségével pillanatokon belül kiüríthető a megtisztítható a ház.
Műszaki paraméterek
Kapcsolódó letöltések
Fedezze fel az Einhell termékeihez és akkumulátoraihoz biztosított ingyenes garanciális szolgáltatásainkat.
Vásárlói vélemények
Az Einhell - a „Megerősített vásárlás” eseteit kivéve - nem biztosítja, hogy a közzétett vélemények olyan fogyasztóktól származnak, akik ténylegesen használták vagy megvásárolták a termékeket.
